

一、简介
SZS型蒸汽喷射加热器(Steam Jet Heater)使用蒸汽来加热水或其它液体。是水(特别是有腐蚀的液体、污泥水、地下水和未经处理的水)或其它液体的有效蒸汽加热设备。SZS型蒸汽喷射加热器是应国内客户要求,作为进口替代产品开发设计制造的。已经在多个领域成功运行。
二、原理
蒸汽经高速喷射,带动液体向前流动并与之混合,实现加热目的。加热器引起的循环则确保了充分的混合。根据需要本设备可引入“空气”或 “惰性气体”使加热更加迅速,噪声更小。
三、特点
A:特别适合于带有腐蚀性和磨损性的溶液和淤浆等流体的蒸汽加热。
B:适合蒸汽量大的场合和有腐蚀的场所。
C:无振动、无噪声,几乎能百分百地利用蒸汽热能,因而节能。
D:难堵塞、混合均匀、加热迅速、热效率高。
E:在水池中选用此型号加热器较其它任何加热器更节约、更节省。
四、应用
(1)化学液体等有腐蚀或含有有害物质的蒸汽加热。
(2)污水、地下水、未经处理的水或有一定浓度的液体的蒸汽加热。
(3)水池(或水槽、水罐)中的水或其它液体的蒸汽加热(蒸汽量大的场合)。
例如:化工厂、(氧化)铝厂、电厂、热电厂、污水厂、地下水供热、制药、化肥、纺织化纤等行业。

五、安装
一般安装在水池或水槽底部,也有管道安装的型号供选择。

六、设计、订货须知
A:设计订货时,须提供以下技术参数,以便设计选择合理的加热器。
B:可代您设计选型。
C:应提供的技术参数
(1)蒸汽压力(表压)和温度。
(2)加热液体(例如水)流量、起始温度和最终温度、加热时间。
(3)加热液体浓度、粘性、有无腐蚀成分,即应用场合。
(4)水池或水槽中使用还是管道连接,安装在水池中,应提供水池尺寸。
(5)是否有特别要求,即需引入“空气”或者“惰性气体”。
(6)材质等其它要求。
七、技术参数表(表1、表2、表3)
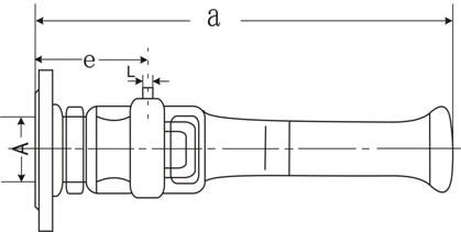
A:SZS-B型蒸汽喷射加热器(法兰连接式)技术参数表(表1)
型号 | SZS-1B | SZS-2B | SZS-3B | SZS-4B | SZS-5B | SZS-6B | SZS-7B | |
尺寸 | A | DN20 | DN25 | DN40 | DN40 | DN50 | DN80 | DN100 |
L | R 1/8″ | R 1/8″ | R 1/4″ | R 1/4″ | R 1/4″ | R 3/8″ | R 3/8″ | |
说明:此型号安装在水池或水槽中,A为进汽口,进汽口采用法兰连接方式,连接处尺寸“L”为“空气”或“惰性气体”接口尺寸。

水箱中常选用SZS-B型作为蒸汽加热用)
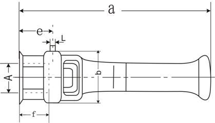
B:SZS-C型蒸汽喷射加热器(全部法兰连接式)技术参数表(表2)
型号 | SZS-1C | SZS-2C | SZS-3C | SZS-4C | SZS-5C | SZS-6C | SZS-7C | |
尺寸 | A | DN20 | DN25 | DN40 | DN40 | DN50 | DN80 | DN100 |
B | DN25 | DN40 | DN40 | DN50 | DN80 | DN100 | DN100 | |
C | DN40 | DN40 | DN50 | DN80 | DN80 | DN100 | DN150 | |
L | R 1/8″ | R 1/8″ | R 1/4″ | R 1/4″ | R 1/4″ | R 3/8″ | R 3/8″ | |
说明:
此型号可安装在管道中,也可安装在水池中,其中A为进汽口,B、C为进、出水口,“L”为引入“空气”或“惰性气体”接口。

C:SZS-A型蒸汽喷射加热器(螺纹连接式)技术参数表(表3)
型号 | SZS-1A | SZS-2A | SZS-3A | SZS-4A | SZS-5A | SZS-6A | SZS-7A | |
尺寸 | A | R 3/4″ | R 1″ | R 3/2″ | R 3/2″ | R 2″ | R 3″ | R4″ |
L | R 1/8″ | R 1/8″ | R 1/4″ | R 1/4″ | R 1/4″ | R 3/8″ | R 3/8″ | |
说明:此型号安装在水池或水槽中,A为进汽口,“L”为引入“空气”或“惰性气体”接口。
